
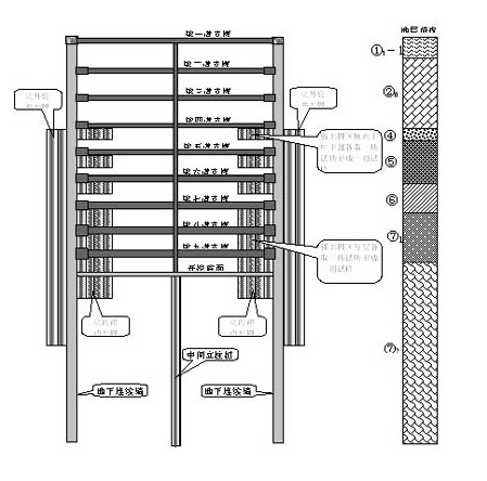
在浇素混凝土和结构制作前,为起到预先支撑作用,在每道混凝土撑下均进行施喷抽条加固。被动区加固对变形的控制效果是非常显著的。裙边加固宽度和裙边加固深度都存在一个有效范围,当超出该有效范围后,加固效果的提高幅度不显著。在抽 条加固置换率保持一定的情况下,抽条加固的布置 形式对基坑变形的影响较小。当裙边加固参数不变 时,被动区加固的作用效果主要与抽条加固的置换 率有关,置换率越大,加固效果越好;在置换率一 定的情况下,加固效果与抽条加固体断面形状、抽 条的布置形式等基本无关。事实上,从宏观上看, 抽条加固就相当于一轴向受力的拉压构件,其受力 与变形之间的关系主要与受力面积(即抽条置换率) 相关,而与断面形状、布置形式等关系不大。
抽条加固
1.基坑被动区加固对变形的控制效果是显著 的,相对于未加固工况,设计方案下的地表沉降及 地下连续墙水平位移的下降幅度均超过35%。各施 工步中,基坑降水对环境的影响最为明显,应特别关注。
2.基坑变形随裙边加固宽度 S、裙边加固深度 h 的增大而减小。裙边加固宽度S、裙边加固深度h 都存在一有效范围,当S 或h 超出该范围之后,加 固效果提高不再明显。对于地层条件及开挖深度与 积玉桥车站类似的工程而言,S 不宜大于5 m,h 不 宜大于4 m。
3.相对于裙边加固宽度S,抽条宽度b 对基坑 变形的影响要更为明显一些。当抽条加固宽度小于 8 m 时,并不存在有效加固宽度的问题,抽条加固 的合理宽度要视周边环境的位移控制标准而定。
4.当裙边加固体截面积不变时,裙边加固宽 高比在1 附近时,加固体将最大程度地发挥作用。
5.当裙边加固参数不变时,被动区加固的作 用效果主要与抽条加固的置换率有关,置换率越高!